產品分類
已瀏覽商品

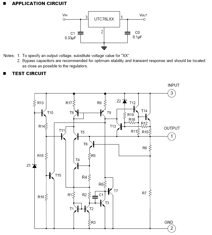
3P/TO-92 (ROHS) 5V/100mA

NT$89
Part No:
22846
Product No:
78L05L-T92
品牌:
UTC
說明:
技術文件:
包裝單位:
10 個
門市據點各店庫存門市儲位位置圖倉庫儲位位置圖
龍山門市0
光復門市210170-2-06-O170-F-07-E
购买数量:
產品特性
  • 特性

UTC-78L05L-T92
 

 







Top

HDMI選擇器 3 進一出 (切換器) MINI-HDMI-301

Part No.: #59798
Product No.: 111118888
包裝單位:
10PC
NT$500
數量: