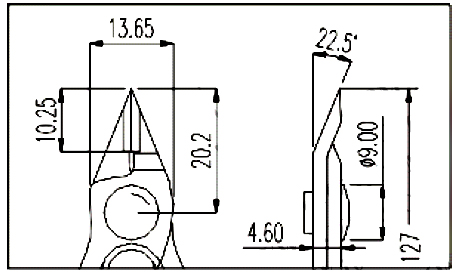
斜口鉗
NT$99
Part No:
7716
Product No:
HT-109
品牌:
HANLONG
說明:
技術文件:
包裝單位:
1 支





