產品分類
已瀏覽商品

DIP-6 (ROHS)

NT$120
Part No:
93945
Product No:
CNY17-3
品牌:
Fairchild(ONS)
說明:
技術文件:
包裝單位:
5 PCS
門市據點各店庫存門市儲位位置圖倉庫儲位位置圖
龍山門市0
光復門市205170-2-06-R170-F-19-F
购买数量:
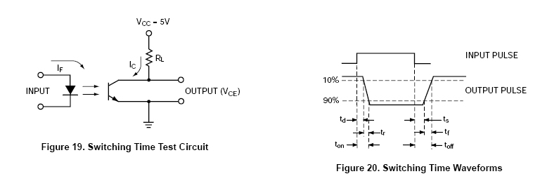
產品特性
  • 特性

Fairchild-CNY17-3
 
 










Top

HDMI選擇器 3 進一出 (切換器) MINI-HDMI-301

Part No.: #59798
Product No.: 111118888
包裝單位:
10PC
NT$500
數量: